
Apple presentó una solicitud de patente para un dispositivo con una pantalla capaz de plegarse. Se trata de una actualización de una patente que fue aprobada en 2016 por Oficina de Patentes y Marcas de Estados Unidos.
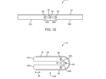
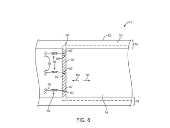
Por lo que se describe, se trataría de un dispositivo móvil aunque no se especifica si es un móvil, iPad o cualquier otro equipo. En el documento se especifica el sistema de bisagra que permitiría doblar el equipo en dos y tres partes.

La actualización de patente se presentó en octubre y trascendió recientemente luego de que fuera difundida por varios algunos especializados. Cabe recordar que no es la primera vez que se escucha un rumor sobre las intenciones de Apple de lanzar un equipo plegable.
Hace años que se viene hablando sobre un iPhone flexible. Aunque, quizás, ahora el concepto esté más cerca de hacerse realidad, teniendo en cuenta que los móviles plegables reinaron en el MWC que se hizo recientemente en Barcelona.

Por otra parte, según el sitio ETNews, Samsung le habría ofrecido a Apple unos prototipos de paneles flexibles de 7,2 pulgadas para que los pruebe. Esto daría a pensar que la idea está más cerca de hacerse realidad.

Samsung presentó el 20 de febrero el Galaxy Fold, su móvil plegable. Además, la surcoreana le provee a Apple de las pantalla Oled que están en algunos de los últimos iPhones, con lo cual no sorprendería ver una nueva colaboración entre las dos empresas para este proyecto.
El documento completo con la solicitud de patente:
MÁS SOBRE ESTE TEMA:
El fin de las contraseñas: aprobaron el sistema para reemplazarlas en la web
Llega a la Argentina el Samsung Galaxy A9, un celular de cinco cámaras
Últimas Noticias
Cuyín Manzano: tras 33 años de aislamiento, se firmó el permiso que destraba la obra para hacer una pasarela peatonal
Desde 1992, los vecinos de este paraje neuquino cruzan el río descalzos, alzando a sus hijos o montados a caballo. Luego de que Infobae visibilizara la situación, la demanda histórica logró avanzar: la Provincia ya tiene autorización formal para iniciar la obra, que beneficiará a más de 20 familias

Cuanta agua hay en los embalses de España este 27 de febrero
La reserva de agua en el país subió en un 0,47 % a comparación de la semana pasada, de acuerdo con Ministerio para la Transición Ecológica y el Reto Demográfico

Estado de las reservas del agua en los embalses españoles hoy sábado 28 de febrero
El Boletín Hidrológico Peninsular ha publicado la situación de los embalses de agua en España

Lotería de Santander: resultados ganadores del viernes 27 de febrero de 2026
Esta lotería colombiana cuenta con una larga lista de premios que suman miles de millones de pesos

Qué se pone en juego en las elecciones de la UOM, donde Abel Furlán arriesga su liderazgo y surgen nuevas rebeliones internas
Desde el lunes se votará en las 54 seccionales metalúrgicas de todo el país, donde se elegirán los delegados que el 18 de marzo designarán a la nueva conducción nacional. Quiénes protagonizan los principales enfrentamientos



